关注 claw.cloud 很久了,由于是新商家,想下手又有点迟疑,所以一直没有购买。
前两天没事逛V2EX,看到有个帖子提到了 claw.cloud 的永久3.5折优惠 $12.6/年起的活动机器,看了下配置,确实很实惠。于是就在今天早上,经过一番考虑,就下单手入了一年的2C2G的产品。
关于数据中心的选择,本来想买一个ping低的,国内访问能快点的,但是通过使用 claw.cloud 网站的提供的测试IP来看,都不太理想,香港的ping竟然达到了300多毫秒,日本机房也有170多毫秒。看到这个数字,突然意识到,这应该是绕路美国了。使用traceroute看了下,果然如此。

冷静下来仔重新考了自己的需求,我买服务器主要是用来建站,而且下一步有打算做针对海外的网站,那既然如此,不管是日本还是香港,反正都要绕美国,我还不如直接买个美国数据中心的服务器好了,绕来绕去的还不如直接点。在最后一刻,果断下单了美国西部-北加利福尼亚州的服务器!
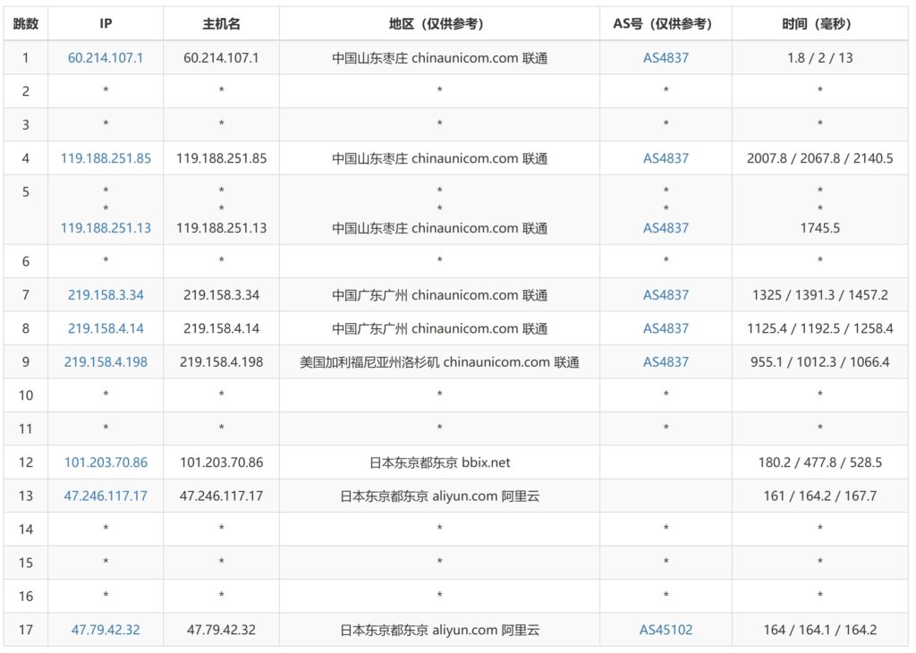
下单后很快就开通了,让我们看一下这个美国机房的claw.cloud怎么样,首先看下去程:

我是用的联通的宽带,可以看到去程是走的联通AS4837的骨干网,到美国落地。可以看到落地地区,果然是阿里云机房😂,不知道有没有什么内幕。
再看一下回程:
root@s38789:~# traceroute 112.234.151.24
traceroute to 112.234.151.24 (112.234.151.24), 30 hops max, 60 byte packets
1 10.59.123.62 (10.59.123.62) 0.834 ms 0.777 ms *
2 11.73.3.225 (11.73.3.225) 2.020 ms 11.73.4.1 (11.73.4.1) 2.076 ms 11.73.3.225 (11.73.3.225) 1.949 ms
3 11.48.250.146 (11.48.250.146) 1.526 ms 10.54.175.30 (10.54.175.30) 1.434 ms 10.54.174.254 (10.54.174.254) 1.969 ms
4 47.246.115.6 (47.246.115.6) 1.380 ms 10.54.151.218 (10.54.151.218) 2.276 ms 47.246.114.254 (47.246.114.254) 1.243 ms
5 * if-bundle-16.qcore2.sqn-sanjose.as6453.net (216.6.33.224) 1.809 ms *
6 64.86.161.5 (64.86.161.5) 2.952 ms 3.200 ms 3.186 ms
7 * 219.158.96.37 (219.158.96.37) 156.914 ms *
8 219.158.9.214 (219.158.9.214) 150.635 ms 151.251 ms 151.240 ms
9 219.158.96.37 (219.158.96.37) 156.924 ms 156.880 ms 219.158.8.93 (219.158.8.93) 150.404 ms
10 219.158.123.150 (219.158.123.150) 158.002 ms 219.158.9.214 (219.158.9.214) 151.654 ms *
11 202.102.146.26 (202.102.146.26) 163.402 ms 219.158.9.17 (219.158.9.17) 151.219 ms 61.156.156.190 (61.156.156.190) 163.182 ms
12 219.158.3.230 (219.158.3.230) 158.527 ms * *
13 * * 61.156.156.190 (61.156.156.190) 163.932 ms
14 * * *
15 * * *
16 * * *
17 * * *
18 * * *
19 * * *
20 * * *
21 * * *
22 * * *
23 * * *
24 * * *
25 * * *
26 * * *
27 * * *
28 * * *
29 * * *
30 * * *
从这个traceroute输出里面,一眼看到了219开头的地址,这是中国电信的骨干网,AS号是AS4134。总体来说也还行吧,中规中矩。
再来看一下ping的延迟和稳定性:

这个ping看起来就很香了,160+的延迟可以和搬瓦工DC9的GIA线路相媲美了,延迟倒是其次,最主要的是稳定,ping了有半个多小时,全程无丢包,不过这是白天,等晚上再试一下,如果晚上还是这么稳定,那才是真厉害。
测完了线路,下面在机器内跑一下测评脚本看下情况,我使用的是Bench.sh的测试脚本,执行代码wget -qO- bench.sh | bash,下面看下结果:

可以看到,使用的是KVM虚拟化技术,40G硬盘,2G内存,Organization属于阿里巴巴(阿里云)👍。
硬盘IO在200MB左右,中规中矩;网络测速都还不错,但是香港0.34Mbps是个什么情况🤣。
整体来说这个VPS很不错,尤其对于做站来说,最主要的是便宜,主打一个性价比,一年低至12.6,还要什么自行车。
最后补个链接,活动页面在这里:https://claw.cloud/promotion (无aff),有需要的可以自行购买。
Pingback引用通告: 喜提claw.cloud内存翻倍和100刀 – 老吴笔记